Zum Hauptinhalt springen
Um unseren Shop in vollem Umfang nutzen zu können, empfehlen wir Ihnen Javascript in Ihrem Browser zu aktivieren.
Grosses Sortiment
Kostenlose Lieferung ab CHF 175.-
Alle gängigen Zahlungsarten
Anmelden
Warenkorb
Suche
Home
Beschläge
Werkzeuge und Maschinen
Befestigungstechnik
Chemisch-technische Produkte
SB Eisenwaren
Arbeitsschutz
Tür- und Baubeschläge
Montagehilfen und Zubehör
Möbelbeschläge
Fensterbeschläge
Bänder
Konsolen
Gerätehalter
Verbindungs- und Konstruktionselemente
Bänder
Bänder
Handwerkzeug
Maschinen & Elektrogeräte
Werkzeugsätze
Baubedarf
Werkstattbedarf
Leitern
Messen und Markieren
Bohren und Fräsen
Schneiden
Schraubwerkzeug
Sägen
Spannen und Heben
Zangen
Schlagwerkzeug
Feilen und Schleifen
Ersatzteile
Mischen
Bohren & Fräsen
Schleifen
Drehen
Sägen
Werkzeugkoffer
Werkzeugkisten
Werkzeugwagen
Gürteltaschen und Gürtel
Werkzeugtaschen
Abdecken, Folien
Kartuschenpistolen
Fliesenlegerwerkzeug
Brecheisen
Kellen
Spachtel
Absperren, Signalisation
Eisenbinder
Mischen
Stützen
Transportwagen
Kabelrollen
Beleuchten
Klappböcke
Schlauchrollen
Werkzeughalter
Scannen
Messen
Markieren
Wasserwagen
Winkel
Lochsägen
Bohren
Gewindeschneiden
Versenken
Oberfräser
Messer
Scheren
Glasschneider
Bolzenschneider
Rohrschneiden
Schraubenschlüssel
Bits und Bit Sätze
Schraubendreher
Steckschlüsselsatz
Steckschlüssel und Zubehör
Drehmomentwerkzeug und Knarren
Winkelstiftschlüssel und Torxschlüssel
Metallsägen
Holzsägen
Laubsägen und Zubehör
Schraubstöcke
Heben
Zwingen
Saugheber
Seitenschneider
Sicherungsringzangen
Radio-, Telefonzange
Gripzange
Sonderzangen
Ösenzangen und Revolverlochzangen
Kabelschuhzangen
Wasserpumpenzange
Kombizange
Abisolierzange
Nietzangen
Beisszange
Elektronik-Zangen
Meissel und Locheisen und Durchschläge
Äxte, Beile
Hämmer
Heftpistolen und Heftklammern
Schleifen
Schnitzen
Hobeln
Feilen
Bürsten
Stechbeitel
Raspeln
Mischwerkzeug
Zubehör Mischen
Handrührwerke
Automatische Mischer
Säulenbohrmaschinen
Tischbohrmaschinen
Bohr- und Fräsmaschinen
Zubehör Bohren & Fräsen
Bohrerschärfmaschinen
Zubehör Schleifen
Doppelschleifmaschinen
Bandschleifmaschinen
Holzschleifmaschinen
Zubehör Drehen
Metalldrehbänke
Metallbandsägen
Zubehör Sägen
Metallkreissägen
Metrische Schrauben und Zollschrauben
Sicherungselemente
Holzbefestiger
Dübeltechnik und Ankertechnik
Drahtprodukte und Ketten
Blech-, Bohr-, Gewindefurchschrauben
Stifte und Splinten
Muttern und Gewindeeinsätze
Schlauchbriden und Schlauchklemmen
Niettechnik
Betonschrauben
Kunststoffteile
Fassadenbefestiger und Dachbefestiger
Holzverbinder
Flachrundschrauben
Ringschrauben und Augenschrauben
Zylinderschrauben
Sechskantschrauben
Grob-,Ösenschrauben und Schraubhaken
Flügelschrauben
Lappenschrauben
Gewindestifte und Stiftschrauben
Verschlussschrauben
Senkschrauben
Linsenschrauben
Passschulterschrauben
Gewindestangen
Möbelgriffschrauben
Steinschrauben
Scheiben
Federringe
Sicherungsscheiben
Sicherungsringe und Sicherungsbleche
Distanzscheiben, Spannscheiben und Tellerfedern
Dichtringe und Dichtscheiben
Montagewerkzeug
Holzbauschrauben
Ringschrauben und Hakenschrauben
Holzschrauben
Zubehör
Stockschrauben
Holzbaubefestiger Konstruktiver Holzbau
Fensterproduktion
Bohrer
Distanzschrauben und Justierschrauben
Fenstermontageschrauben
Schnellbauschrauben
Terrassenbefestiger
Schwerlast Befestigungen Chemie
Allgemeine Befestigung
Werkzeug und Zubehör
Hohlraumbefestigungen
Gerüstbefestigungen und Ösenbefestigungen
Langschaftdübel
Schwerlastbefestigungen Stahl
Dämmstoffbefestigungen
Befestigung an WDVS - Dämmung
Nägel und Stifte
Spannschlösser
Draht und Drahtspanner
Ketten und Zubehör
Haken
Drahtseil und Zubehör
Blechschrauben
Gewindefurchende und gewindeschneidende Schrauben
Bohrschrauben
Splinten
Stifte
Distanzhalter
Stellringe, Bolzen und Kugeln
Passfedern
Sechskantmuttern
Setzmuttern und Einschlagmuttern
Sicherungsmuttern
Flügelmuttern
Hülsenmuttern
Vierkantmuttern
Ringmuttern
Hutmuttern
Schweissmuttern
Einpressmuttern und Einnietmuttern
Montagezubehör
Vollnieten
Maschinen und Zubehör
Blindnietmuttern
Blindniete
Abdeckkappen
Befestiger
Geräte, Werkzeug und Zubehör
Verbindungsmittel
Balkenschuhe
Balkenträger
Lochbleche
Gerberverbinder
Bulldoggen
Winkelverbinder
Sparrenpfettenhalter
Stützenfüsse
Pfostenhalter
Reinigen und Pflegen
Spachteln und Reparieren
Dichtmassen
Schäumen
Schmieren und Ölen
Anlaugen und Abbeizen
Kleben
Korrosionsschutz
Aussenbereich
Haushalt
Werkstatt
Holzreparatur
Spachtelmassen
Spezialdichtmassen
Fugendichtmassen
Zubehör
Streichbare Dichtmasse
Handschäume
Pistolenschäume
Zubehör
Montagekleber
Spezialitäten
Dübel
Beschläge
Wohnen - Deco
Metall
Aussenbereich-Rostfrei
Holz
Ösen und Druckknöpfe
Chemie
mit Pitonnerie
Spezialdübel
ohne Schrauben
mit Schrauben
Langschaftdübel
Schwerlast
Dübel in Box
Baubeschläge
Möbel- Fenster- und Türbeschläge
Bänder und Scharniere
Schnäpper
Verbindungs- und Konstruktionselemente
Schlösser und Zylinder
Verschlüsse und Riegel
Griffe
Auszüge
Haushaltsartikel
Gleiter
Scheiben und Ringe
Metrische Schrauben
Muttern
Blech- und Bohrschrauben
Nieten
Metrische Schrauben
Muttern
Scheiben und Ringe
Holzschrauben
Universalschrauben
Abdeckkappen
Stifte und Nägel
Haken
Universalschrauben
Pitonnerie
Holzschrauben
Agraffen
Drähte und Zubehör
Bildernadeln und -stifte
Sets
Wandhaken
Haken
Karabinerhaken
Pinnwandnadeln
Polsternägel
Reissnägel
Saugnäpfe
Schlüsselzubehör
Puffer
Gleiter
Rohrkappen
Karosseriescheiben
Schraubenrosetten
Unterlagscheiben
Federringe
Fischbandringe
6-kant
Winkelschrauben
Zylinderschrauben
Schaukelschrauben
Linsenschrauben
Ringschrauben
Senkschrauben
Hakenschrauben
Flachrundschrauben
Gewindebolzen
Hutmuttern
Einschraubmuttern
Sicherungsmuttern
Flügel- und Rändelmuttern
Sechskantmuttern
Einschlagmuttern
Blechschrauben
Senkschrauben
Flachrundschrauben
Hakenschrauben
Ringschrauben
6-kant
Zylinderschrauben
Flügelmuttern
Hutmuttern
Sicherungsmuttern
Sechskantmuttern
Unterlagscheiben
Federringe
Karosseriescheiben
Drahtstifte
Splinten
Dachpappenstifte
Hakenholzschrauben
Ringholzschrauben
Winkelholzschrauben
Sechskant-Holzschrauben
Blattschrauben
Linsenkopf
Halbrund
Senkkopf
Stockschrauben
Atemschutz
Gehörschutz
Fussschutz
Kopfschutz
Augenschutz
Arbeitskleidung
Betriebsmittel
Handschutz
Knieschutz
Holzbefestiger
Zurück
Holzbauschrauben
Ringschrauben und Hakenschrauben
Holzschrauben
Zubehör
Stockschrauben
Holzbaubefestiger Konstruktiver Holzbau
Fensterproduktion
Bohrer
Distanzschrauben und Justierschrauben
Fenstermontageschrauben
Schnellbauschrauben
Terrassenbefestiger
Befestigungstechnik
Holzbefestiger
Bohrer
fischer Diamantbohrgerätbefestiger FDBB 16/50 SET
FISCHER
42,60 CHF
Preise exkl. MwSt. zzgl. Versandkosten
Von
FISCHER
Anzahl
Anzahl
In den Warenkorb
Eigenschaften
Inhalt:
Set
Oberfläche:
verzinkt blau
Typ:
FDBB 16/50 Set
Werkstoff:
Stahl
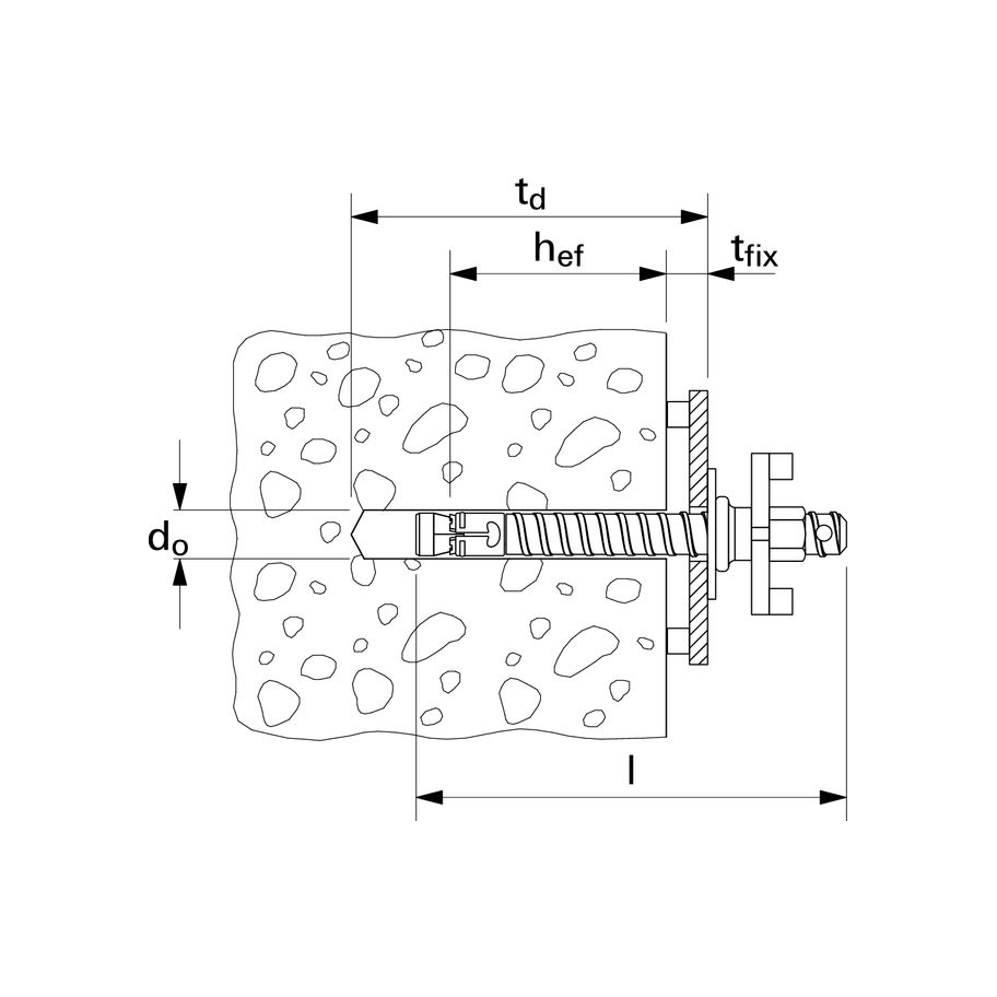
d0:
16 mm
td:
85 mm
t fix:
50 mm
Teilen
Produktnummer
Inhalt
Typ
Anzahl
Verkaufseinheit
Preis*
Verfügbar
Lieferzeit
351103
FDBB SE
FDBB 16 SE
1
43,06 CHF
Sofort verfügbar, Lieferzeit:
-
+
351110
Set
FDBB 16/50 Set
1
42,60 CHF
Sofort verfügbar, Lieferzeit:
-
+
Diese Website verwendet Cookies, um eine bestmögliche Erfahrung bieten zu können.
Mehr Informationen ...
Nur technisch notwendige
Konfigurieren
Zurück